Визуально-оптическое наблюдение с использованием такого совершенного оптического прибора, как глаз, является одним из наиболее эффективных способов добывания информации о видовых признаках. Однако оно не позволяет регистрировать изображение для последующего изучения или документирования результатов наблюдения. Для этих целей применяют фотографирование и киносъёмку с помощью фото- и киноаппаратов.
Фотографический аппарат: назначение и основные узлы
Фотографический аппарат представляет собой оптико-механический прибор для получения оптического изображения фотографируемого объекта на светочувствительном слое фотоматериала.
Все фотоаппараты состоят из:
- светонепроницаемого корпуса с объективом, закреплённым на передней стенке;
- устройства для размещения или фиксации светочувствительного материала (у задней стенки корпуса);
- затвора.
Так как светочувствительный материал обеспечивает получение качественного изображения при строго дозированной световой энергии, затвор пропускает световой поток в течение определённого времени (времени экспозиции, или выдержки).
Вспомогательные узлы фотоаппарата
По мере конструктивного развития фотоаппарат дополнялся узлами и механизмами, облегчающими и автоматизирующими процесс съёмки. Эти элементы называют вспомогательными. К ним относятся:
- видоискатель для определения границ поля изображения;
- дальномер для ручного или автоматического определения расстояния до объекта съёмки;
- фокусировочный механизм для совмещения фокальной плоскости объектива с плоскостью светочувствительного материала;
- механизм транспортирования фотоплёнки на один кадр и точной установки её против кадрового окна;
- экспонометрический узел для определения экспозиционных параметров (выдержки и диафрагмы) в соответствии со светочувствительностью фотоматериала и яркостью объекта.
Профессиональные фотоаппараты известных фирм (Nikon, Canon, «Зенит», Kodak, Olympus, Contax, Pentax и др.) представляют собой сложные оптико-электромеханические устройства, автоматически учитывающие изменения освещённости объекта во время фотосъёмки.
Классификация фотоаппаратов
По размерам получаемых негативов (по размеру светочувствительного материала) выделяют пять групп: микроформатные, полуформатные, малоформатные, среднеформатные и крупноформатные.
Фотоаппараты используют различные типы светочувствительных материалов: фотопластинки, плоские и рулонные фотоплёнки.
По назначению фотоаппараты делят на общие и специальные.
По способу наведения на резкость фотоаппараты подразделяются на:
- с наводкой по изображению на экране (зеркальные, SLR);
- с наводкой по монокулярному дальномерному устройству, механически связанному с объективом;
- с неподвижным встроенным объективом, сфокусированным на гиперфокальное расстояние;
- автофокусирующие (с автоматической фокусировкой).
По технической оснащённости фотоаппараты условно относят к классам: простой, средний, высокий.
По степени автоматизации экспозиции выделяют три группы:
- с ручной установкой;
- с полуавтоматической установкой;
- с автоматической установкой экспозиции.
Повышение технической оснащённости расширяет возможности фотоаппаратов, но усложняет их миниатюризацию.
Микроформатные фотоаппараты
Микроформатные фотоаппараты имеют более простую конструкцию и заряжаются узкой плёнкой шириной 8–16 мм. Одна из особенностей ряда ранних микроформатных аппаратов — горизонтальная компоновка с объективом, утопленным в корпус. Корпус таких моделей состоит из двух частей, одна из которых подвижная: перед съёмкой фотоаппарат телескопически раздвигается, открывая объектив и видоискатель. Одновременно происходит транспортирование плёнки и взвод затвора. Выдвижная часть корпуса служит защитным кожухом и рычагом взвода/протяжки плёнки для следующего кадра (например, «Minox», «Agfa-matic 4008», «Киев-30»).
Другие модели имеют традиционную форму. Среди производителей таких аппаратов упоминаются АО «Красногорский завод» и немецкая фирма Robot.
Пример: фотоаппарат «МФ-1» (Красногорский завод) — полуавтомат с пружинным приводом, имеет светосильный объектив (F2.8), размер кадра 18×24 мм. Конструкция предполагает дистанционное управление, а пружинный привод позволяет работать в различных климатических условиях. Недостаток — относительно высокий шум при перемотке.
Фотоаппарат Robot-SC electronic менее шумный и при небольших габаритах работает со стандартной плёнкой 35 мм.
Копирование документов
Для копирования документов наряду с мини- и микроформатными фотоаппаратами применяют специальные аппараты. Например, копировальный фотоаппарат РК 320 состоит из зеркального аппарата, откидной стойки, источника освещения (две лампы по 10 Вт), блока питания от батарей (8×1.5 В) и сети 220 В, а также держателя документа. Устройство позволяет фотографировать документы форматов А4–А6, размещается в портфеле-дипломате и весит около 3.5 кг.
Следует учитывать, что возможности добывания информации путём фотографирования определяются не только параметрами фотоаппарата, но и характеристиками светочувствительных материалов (спектральный диапазон, чувствительность, разрешающая способность), на которые проецируется изображение.
Цифровое фотографирование
С начала 1990-х годов на основе достижений микроэлектроники развивается принципиально новое направление — цифровое фотографирование. Цифровой фотоаппарат представляет собой малогабаритную камеру на ПЗС, электрические сигналы с выхода которой преобразуются в цифровой вид и запоминаются в полупроводниковой памяти или записываются на малогабаритный диск.
Цифровой фотоаппарат, сохраняя возможности классического электромеханического аппарата, предоставляет дополнительные функции, повышающие оперативность: непрерывная съёмка (примерно 5–15 кадров/с), запись текстовых и звуковых комментариев, даты и времени, просмотр изображений на экране, отображение параметров съёмки (количество кадров, свободная память, режим компрессии), удаление неудачных кадров и печать выбранных снимков на принтере.
Цифровые фотоаппараты могут подключаться к телевизору, видеомагнитофону и печатать на видеопринтере, а также сопрягаться с компьютером: изображения можно просматривать, редактировать в графических редакторах, печатать и передавать по сети.
Разрешение изображения определяется разрешением светоэлектрического преобразователя (ПЗС). При увеличении разрешения при ограниченном объёме памяти уменьшается число кадров, поэтому часто реализуется выбор разрешения оператором. Использование карт памяти стандарта PCMCIA позволяет существенно увеличить количество кадров.
Цифровое фотографирование не требует химической обработки фотоматериалов, что улучшает потребительские свойства и повышает оперативность получения результата.
Средства телевизионной разведки
Информация о движущихся объектах добывается путём кино- и видеосъёмки с помощью кинокамер и видеокамер. При киносъёмке изображение фиксируется на светочувствительной киноплёнке, при видеозаписи — на магнитной плёнке.
Киносъёмка — процесс фиксации серии последовательных изображений (кадров) объекта через заданные промежутки времени. Частота кадров может изменяться от единиц кадров в минуту (для медленных процессов) до сотен тысяч кадров в секунду (для сверхскоростной съёмки).
Устройство кинокамеры близко к устройству фотоаппарата, но в процессе киносъёмки плёнка скачкообразно продвигается грейферным механизмом на один кадр. Закрытие объектива на время продвижения плёнки выполняет вращающаяся заслонка (обтюратор), синхронизированная с работой грейфера. Съёмка движущихся людей обычно ведётся на 8- и 16-мм плёнку с частотой 16–32 кадра в секунду.
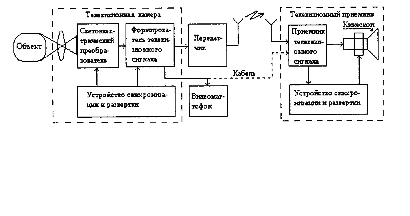
Дистанционное наблюдение движущихся объектов выполняется средствами телевизионного наблюдения. При телевизионном наблюдении изображение объективом проецируется на светочувствительный слой фотокатода вакуумной передающей трубки или на мишень твердотельного преобразователя (например, ПЗС). На фотокатоде/мишени формируется распределение зарядов, эквивалентное оптическому изображению, а далее сигнал усиливается и передаётся по кабелю или радиоканалу к приёмнику, где выполняется обратное преобразование в изображение.

Современные телевизионные средства наблюдения отличаются чувствительностью (возможность работы при низкой освещённости) и разрешающей способностью (количеством строк/элементов разложения). Чем выше разрешение, тем шире спектр видеосигнала.
Для скрытого наблюдения средства наблюдения могут камуфлироваться под бытовые приборы и личные вещи. Видеопередатчики работают в широком диапазоне частот и обеспечивают дальность передачи от нескольких метров до десятков километров (при использовании ретрансляторов — больше).
Приборы ночного видения
Для визуально-оптического наблюдения в инфракрасном диапазоне необходимо преобразовать невидимое глазом ИК-изображение (длины волн более 0.76 мкм) в видимый диапазон. Эта задача решается в приборах ночного видения, основу которых составляет электронно-оптический преобразователь (ЭОП).
ЭОП формирует видимое изображение за счёт преобразования фотонов в электроны на фотокатоде и последующего усиления/преобразования электронного потока в свет на экране с люминофором. Существуют поколения ЭОП (от ранних до современных), отличающиеся усилением, чувствительностью и разрешением.
Приборы ночного видения условно делят на три группы:
- малой дальности действия (ночные очки) — порядка 100–200 м;
- средней дальности (ночные бинокли, трубы) — до 300–400 м;
- большой дальности — до 1000 м (обычно на треноге или носителе).
По способу подсветки различают приборы:
- с искусственной ИК-подсветкой;
- использующие естественное ночное освещение;
- принимающие собственное тепловое излучение объекта (переход к тепловизорам).
Тепловизоры
Наблюдение объектов в полной темноте затрудняется тепловыми шумами светоэлектрических преобразователей. Для повышения отношения сигнал/шум фотоприёмники в тепловизорах охлаждаются до низких температур (порядка −70…−200 °C), что позволяет уверенно регистрировать тепловое излучение объектов.

В современных тепловизорах используются линейки фотодиодов (строка кадра), а сканирование по вертикали часто выполняется механическим качанием зеркала. Охлаждение реализуют различными методами (жидкие газы, термоэлектрическое охлаждение и др.).
К основным характеристикам средств наблюдения в ИК-диапазоне, влияющим на возможности, относятся:
- спектральный диапазон;
- пороговая чувствительность по температуре;
- фокусное расстояние объектива;
- диаметр входного отверстия объектива;
- угол поля зрения прибора;
- коэффициент преобразования (усиления) ЭОП;
- интегральная чувствительность.